­º­¶> ª½¥ß¦¡Server>AMD¨t¦C

>>ÂsÄý©Ò¦³Keywin³Ííª½¥ß¦¡Server>

Keywin³Íí
³ÍíKTS-A8H8Q-SR 5U ª½¥ß¦¡ ¦øªA¾¹

«¬¸¹¡GKTS-A8H8Q-SR


Keywin³ÍíKTS-A8H8Q-SR


°Ñ¦Ò°â»ù¡G½Ð¥ß§Y¨Ó¹q ¤O±ô¸ê°T
( »ù®æ¯}Ãa¦æ±¡¡I¨Ó¹q¬¢¸ß)



ServerBank¤O±ô¸ê°Tµ¹§A³Ì¶W­ÈÀu´fªºKeywin³Íí - KTS-A8H8Q-SR - ª½¥ß¦¡Server>
³Ì¦nªºKeywin³Íí - ³ÍíKTS-A8H8Q-SR 5U ª½¥ß¦¡ ¦øªA¾¹±ÄÁÊ¿ï¾Ü´N¦b ServerBank!
¶W¦h´Úª½¥ß¦¡Server>AMD¨t¦C Åwªï±z¨Ó¹q°Q½×±ÄÁʻݨD¡A²{¦b§ó¦³¦h­«Àu´f¤è®×³á
¥»¯¸°Ó«~§¡¸û¦P·~»PºôÁÊ«K©y,¥ø·~ªø´Á±ÄÁÊ ¶q¤j¥t¦³§é¦©³á!  
 ServerBankÂX¤j©Û¶Ò·~°È¦P¤¯¡I

°Ñ¦Ò°â»ù¡G( ¯}Ãa¦æ±¡¼t°Ó¬IÀ£¡I)
¸ß°Ý¥ô¦óKeywin³Íí¬ÛÃö²£«~½Ð¥ß§Y¨Ó¹q
¤O±ô¸ê°T ServerBank ¹q¸Ü:(02)8969-0901
¸ß»ùEmail service@serverbank.com.tw



·|­û»ù>>¯Á¨ú¦¹°Ó«~³ø»ù
¦Û°Ê¦C¦L³ø»ù³æ(¤´¥i¨Ó¹q¸ß°Ý§é¦©´T«×)


ÂsÄý³W®æ¬Ûªñ¤§Keywin³Íí²£«~>>
ÂsÄý³W®æ¬Ûªñ¤§¨ä¥L«~µP²£«~>>






¥[ÁÊ ¼Ð·Ç°t³Æ¥H¥~¤§Keywin³Íí­ì¼t°t¥ó


¡@

¡@

¡@


Keywin³Íí
³ÍíKTS-A8H8Q-SR 5U ª½¥ß¦¡ ¦øªA¾¹ - ServerBank¸ê°T±ÄÁʺô
KTS-A8H8Q-SR
ª½¥ß¦¡Server>AMD¨t¦C


¡@
²£«~³W®æ
«¬¸¹ KTS-A8H8Q-SR
¥D¾÷ªO ¡ESuper H8QME-2
¤¤¥¡³B²z¾¹ ¡EQuad 1207-pin Socket F
¡ESupports up to four Quad-Core / Dual-Core AMD Opteron™ 8000 Series (Socket F) processor(s)
¡@Block Diagran
´¹¤ù²Õ ¡E nVidia MCP55 Pro
¡E AMD 8132
«eºÝ¶×¬y±Æ ¡E 1000 MHz system bus
°O¾ÐÅé ¡E(16) 240-pin DIMM sockets
¡ESupports up to 128 GB DDR2 667/533/400 MHz memory
¡ESingle or Dual (recommended) channel memory support
¡EFor Quad CPUs: Recommended that memory be populated equally in adjacent memory banks
ÂX¥R¼Ñ ¡EPCI-Express
¡@-1 x16 PCI-e Slot
¡@-1 x8 PCI-e Slot
¡EPCI-X
¡@-2 64-bit 133/100MHz PCI-X (3.3V) slots
¡@-2 64-bit 100MHz PCI-X (3.3V) slot
¡EHyperTransport
¡@-2 HyperTransport (HTX) Connectors
I/O ¤¶­± ¡ESATA
¡@-6 SATA2 ports
¡EIDE
¡@-Single EIDE channel support up to two UDMA IDE devices
¡@-Supports UDMA Mode 5
¡@-Supports PIO Mode 4
¡@-Supports ATA 100/133
¡EFloppy
¡@-1 Floppy port; 1.44 MB support
¡ELAN
¡@-2 RJ45 LAN ports
¡EUSB
¡@-FUCI
¡@-Up to 4 USB Ports 2.0 Compliant
¡@-2 Rear Ports
¡@-2 Internal Headers
¡EKeyboard / Mouse
¡@-PS/2 keyboard and mouse ports
¡ESerial Ports
¡@-1 Fast UART 16550 serial port
¡@-1 Header
¡EParallel Port
¡@-1 ECP / EPP parallel port
¡EVGA
¡@-1 VGA port
³nºÐ¾÷ ¡E ¥i·f°t³n¦¡µwºÐ<¿ï°t>
¥úºÐ¾÷ ¡E ¼Ð·Ç«¬DVD-ROM
µwºÐ±±¨î¤¶­± ¡ESATA
¡@-nVidia MCP55 Pro SATA2 3.0Gbps Controller
¡@-6 SATA2 Ports
ºÏºÐ°}¦C¤¶­± ¡ESATA
¡@-nVidia RAID 2.0
¡@-SATA RAID 0, 1, 0+1, 5 JBOD Support
Åã¥Ü¤¶­± ¡EATI ES1000 Graphics Controller16MB Graphics & VGA port
ºô¸ô¤¶­± ¡EIntel® 82546GB Dual Port Gigabit Ethernet Controller
¡ESupports 10BASE-T, 100BASE-TX, and 1000BASE-T, RJ45 output
­µ®Ä¤¶­± ¡E NA
¹q·½¨ÑÀ³¾¹ ¡E380W (3 + 1) Redundant PSU
´²¼ö­·®°¨t²Î ¡E(4) 120mm x 120mm
¡E(2) 80mm x 80mm
¾÷½c ¡E4U ¾÷¬[ / ª½¥ß¦¡¾÷½c
¤Ø¤o³W®æ ¡E660 x 220 x 432 (mm)
¾Þ§@Àô¹Ò ¡E Operating temperature 5¢XC ~ 35¢XC
¡E Non-operating temperature -40¢XC ~ 70¢XC
µwÅéºÊ±± ¡E ¨ã§Ú¦Û§Ú¶EÂ_¿O¸¹Åã¥\¯à, ¥i«ü¥ÜµwÅ餧¬¡°Êª¬ºA
¨t²ÎºÞ²z³nÅé ¡@
§@·~¨t²Î ¡@
«O©T¤Î°â«áªA°È ¡E ¦³­­«O©T¤@¦~

¡D¥»¤å¥óªº¸ê°T­Y¦³­×§ï¡A®¤¤£¥t¦æ³qª¾¡C
¡D³W®æ©Î³ø»ù­Y¦³»~¡A¥H­ì¼t«¬¿ý©Î¥¿¦¡³ø»ù³æ¬°¥D¡C
¡D¥»ºô¯¸¤º®e©Î¤å¥ó·í¤¤©Ò´£¤Î¤§«~µP¤Î²£«~¦WºÙ©Î¹Ï¤ù§¡¬°¨ä­ì©ÒÄݤ½¥q¤§ª©Åv¡B°Ó¼Ð©Îµù¥U°Ó¼Ð¡C

º¡¤@©w¼Æ¶q©Îª÷ÃBÁÙ¦³¦h´ÚÃØ«~¥i¨Ñ¿ï¾Ü³á! ServerBank¤O±ô¸ê°Tµ¹§A³Ì¶W­ÈÀu´fªºKeywin³Íí - KTS-A8H8Q-SR - ª½¥ß¦¡Server> ,³Ì¦nªºKeywin³Íí - ³ÍíKTS-A8H8Q-SR 5U ª½¥ß¦¡ ¦øªA¾¹±ÄÁÊ¿ï¾Ü´N¦b ServerBank!


¥æ©ö¤Î¹B°e«O©T»¡©ú

¥æ©ö¤è¦¡¡G
±z¤£½T©w¥H¤W°Ó«~¬O§_²Å¦X±zªº»Ý¨D?¨SÃö«Y¡A§Ú­Ì·|¬°±z¦V­ì¼t½T»{¡C©Î¬O±z§Æ±æ¼W´î¥H¤W°Ó«~¤§³W®æ¹s²Õ¥ó¡A§Ú­Ì³£¥i¼u©Ê°t¦X±zªº»Ý­n³ø»ù¤Î¥X³f¡C ¦p±z¹ï¥H¤W²£«~³W®æ¥H¤Î»ù®æº¡·N¡A¥i³z¹L¥H¤U¤è¦¡¶i¦æ±ÄÁÊ¡G

1.¹q¸ÜÁpô¡G ½Ðª½±µ¨Ó¹q¡G(02)8969-0901
2.ºô¸ô¸ß»ù¡GÂI¿ï¥»­¶ÁʶR¸ß»ù§Ú­Ì·|¥ß§Y»P±zÁpô!
3.¨Ó¨ç¸ß»ùEmail: service@serverbank.com.tw
¥I´Ú¤è¦¡¡G¦p«È¤á¬°­º¦¸¥æ©ö±Ä²{ª÷¥æ©ö¡C
¶Ç¯u­q³æ¡G ª½±µ±N¥¿¦¡³ø»ù³æÃ±¦W«á¶Ç¯u¦Ü(02)2253-9016 §Y§¹¦¨­qÁʵ{§Ç¡A§Ú­Ì·|©ó³Ìµu®É¶¡¤º¹q¸Ü½T»{­q³æ¡C
±H°e®É¶¡¡G¨Ì³y¤£¦P¼tµP¥N²z°Ó¦³©Ò¤£¦P¡A¤j¦h¼Æ°Ó«~©ó 7 ­Ó¤u§@¤Ñ¯à°e©è«È¤áºÝ¡A§Ú­Ì¦¬¨ì±z­q³æ®É·|¦P®É¦^Âбz½T©w¥æ´Á¡C
°e³f¤è¦¡¡G(1) ­ì¼t©Î¬O¥N²z°Óª½±µ°t°e (2) ¥ÑServerBank©e°U¦v°t©Î¬O³f¹B¤½¥q°e¹F¡C
°e³f½d³ò¡G­­¥xÆW¥»®q¦a°Ï¡A¹B¶O¥Ñ ServerBank ¬°±z­t¾á¡Aª`·N¡I¦¬¥ó¦a§}½Ð¤Å¬°¶l¬F«H½c¡C
°â«áªA°È¡G­Y²£«~¥»¨­·å²«©Î¹B°e¹Lµ{¾É­P·s«~·å²«¡A¨ì³f7¤é¤º¥i§ó´«·s«~¡C
«O©T¬Fµ¦¡G ¹ê»Ú¥H­ì¼t¤Î¥N²z°Ó¤½§i«O©T±ø¥ó¬°¥D¡A¬d¾\Áʪ«»¡©ú»P«O©TªA°È¡C¡@

¤O±ô¸ê°T ServerBank Inc. ²¤¶

¥Ø«e¤w¸g¬°¶W¹L30000®a¥ø·~´£¨ÑIT¸ê°T¬[ºc©Ò»Ýªº³nµwÅé³]³Æ¡A¦U¦æ·~ª¾¦W«È¤á¦p¡G

»s³y·~¡G¥x¿n¹q¡B¤Í¹F¡BÂE®üºë±K¡B¤O´¹¥b¾ÉÅé¡B¦w±¶­Û¡B¥xÆWªFªÛ¡B¥xÆW­^­¸­â¡B¥¿´Q¡B§¡»¨¡B§»¥¿¡B©MºÓÁp¦X¡BªF¶©¡B«Ø¿³¹q¤l¡B­¸§Q®ú©úùÖ¡B®õª÷Ä_¡B¯«³q¡B¯«¹F¡B°¶³Ð¤O¡B±d¥þ¡B°ê²³¡B±á¬P¥b¾ÉÅé¡B¼s¹F¹q¸£¡B¼s¿o¹q³q¡BÁpµØ®ðÅé¡BÄ_¦¨¤u·~¡B¼s¹B¡B

¥~°Ó¡G ¥xÆWNTT¡B¥xÆW·Nªk¥b¾ÉÅé¡B¥xÆWNEW Balance¡B¥xÆWNEC¡B¥xÆWSONY¡B¥xÆW´I¤h¥þ¸S¡B

ª÷¿Ä¡G°ê®õ¤H¹Ø¡B¤¸¤jÃÒ¨é¡B«n¤s¤H¹Ø¡B°ê®õ¥@µØ¡B¥xÆW¤u·~»È¦æ¡B¥xÆWª÷¿Ä¬ã°V°|¡B¤T°Ó¬ü¨¹¤H¹Ø¡B¤j¸Û«OÀI¡Bªk°ê¤Ú¾¤¤H¹Ø¡B«O¸Û¤H¹Ø¡B°êµØ¤H¹Ø¡B²Î¤@ÃÒ¨é¡B´I¨¹¤H¹Ø¡BµØ«n²£ª««OÀI¡B·s¥ú¤H¹Ø¡B¥xÆW²£·~«OÀI¡B

¬y³q¡G ·s¥ú¤T¶V¡B¤T¹´(·L­·¼s³õ)¡B«H¸q©Ð«Î¡Bªü¨½¤Ú¤Ú¡B

Æ[¥ú¡G ¤¤«H¶º©±¡B¶³®Ô¶º©±¡B¤Ó¥­¬v¡BµØ®õ¡B¤»ºÖ¡B¤Ñ²»´¹µØ¡B¬K¤Ñ°s©±¡B»·¶¯®ü¬v¤½¶é¡B

­¹«~¡G ¥xÆWµÒ°s¡B¤Ñ¤¯¯ù¸­¡B¤¸¯ª¡B¥ú¬u¡B·sªF¶§¡B¦w¤ß­¹«~(¼¯´µº~³ù)¡B®õ¤s¡B®üÅQ¤ý¡B²Î¤@¥ø·~¡B¾ó¤ì±í¡B¯ø´µ¸ª¡B«¢¸ò¹F´µ¦B²N²O¡B

´CÅé¡G ³ü¶Ç´C¡BÁp¦X³ø¡B¥xµø¡BµØµø¡B«D¤Z¹qµø¡B¨È¬w¼s¼½¡B­¸ºÐ¼s¼½¡B­·¼é°Û¤ù¡B®É³ø©P¥Z¡B

±Ð¨|¡G ¥xÆW¤j¾Ç¡B¥æ³q¤j¾Ç¡B²MµØ¤j¾Ç¡B¤j¦P¤j¾Ç¡B¤¤¥¡¤j¾Ç¡B¤¤­ì¤j¾Ç¡B¤¤¿³¤j¾Ç¡B»²¤j¡B°ê»y¹ê¤p¡BÂù¶é°ê¤p¡BµØ¿³¤¤¾Ç¡BªFªù°ê¤p¡B¥x¬ì¤j¡B©ú§Ó¡BªF§d¡BªF®ü¹qºâ¤¤¤ß¡Bªø©°¤j¾Ç¡B«n¨È§Þ³N¾Ç°|¡B¨ÈªF¡B«nªù°ê¤¤¡B¥x®v¤j¡BªFµØ¡B¶§©ú¡B¶³¬ì¤j¡B¦Ë®v¡Bº[«n¤j¾Ç¡B±X¤s¬ì¤j¡B²H¦¿¡B²M¶³¡B³{¥Ò¡B

²Õ´¡G «H«O°òª÷¡B«C³Ð·|¡B¤¤¤p¥ø·~¨ó·|¡BºÞ²z¬ì¾Ç¾Ç·|¡B­ì¦í¥Á±Ú¤å¤Æ±Ð¨|¨ó·|¡B¸êµ¦·|¡B¥xºô¤¤¤ß¡B¶³ªù»R¶°

¬F©²¡G ¤¤¬ã°|¡B¤¤¬ì°|¡B°·«O§½¡B¤Ñ¤å¬ì±ÐÀ]¡B¦Á¤îĵ§½¡BªO¾ô¹A·|¡B¥x¥_¿¤®ø¨¾§½¡B°ê½Ã°|¡B®ü¥ÍÀ]¡B°ê¦w§½¡B

ÂåÀø¡G ¥x¤jÂå°|¡B®¦¥D¤½Âå°|¡B¥_¨Ê¦P¤¯°ó¡B®H¨½°ò·þ±ÐÂå°|¡B¸¯Äõ¯À¥v§J¡Bù¤ó¤jÃļt¡B¥Ã«HÃÄ«~¡B

¹q«H¡G ¤j²³¹q«H¡B¥xÆW©Tºô¡B»·¶Ç¹q«H¡B

¥æ³q¡G ¥x¥_±¶¹B¤½¥q¡BµØ¯è¡B¤­±]±¶¹B¡B¥xÆW´¼¼z¥d¡B

¤½¯q¡G³ßéw¨à¡B¥ì¨l¡B¶§¥ú°òª÷·|¡B»Z¤½­^¡B¿ßÀYÆN

©v±Ð¡G ¤¤¥xÁI¦x¡B°ò·þ±Ð¦æ¹D·|¡B°ò·þ±Ð®û«H·|¡B

­x¤è¡G ªÅ­x¥q¥O³¡¡B°ê¨¾Âå¾Ç°|¡B

 

 


¡@
         ServerBank ¥Ñ¤O±ô¸ê°TªÑ¥÷¦³­­¤½¥q«Ø¸m@
         ·s¥_¥«ªO¾ô°Ï¤å¤Æ¸ô¤@¬q268¸¹3¼Ó
         ¹q¸Ü:
(02)8969-0901
          service@serverbank.com.tw
          www.ServerBank.com.tw
ServerBank¤O±ô­º­¶

¥þ³¡¤ÀÃþ | ¦Cªí | «~µP | ¶i¶¥·j´M | §Þ³N¤ä´©
¡@
¡@
¹q¸Ü(02)8969-0901
¡@
 ServerBank±ÀÂ˾÷ºØ
 Intel¤»®Ö¤ßXeon
 Intel Core i
 Intel¤Q®Ö¤ßXeon
 Intel¤K®Ö¤ßXeon
 Intel¤Q¤G®Ö¤ß§t¥H¤W
 Turbo Boost ¨t¦C
 Intel¥|®Ö¤ßXeon
 IntelÂù®Ö¤ßXeon
 Intel³æ®Ö¤ßXeon
 IntelÂù®Ö¤ßPentium D
 Intel-4way¥H¤W
 Intel¥ÕµP¦øªA¾¹
 Intel P4
 AMD¨t¦C
 Sun server
 Intel Xeon64
 ³nÅé²£«~
«P¾P¬¡°Ê



¡@


ServerBank ¤O±ô¸ê°TServerBank¸ê°T±ÄÁʺô > ª½¥ß¦¡Server>AMD¨t¦C


Keywin³ÍíKTS-A8H8Q-SR

³ÍíKTS-A8H8Q-SR 5U ª½¥ß¦¡ ¦øªA¾¹


¼tµP¡GKeywin³Íí      >>ÂsÄýKeywin³Íí¥þ³¡²£«~
«¬¸¹¡GKTS-A8H8Q-SR



ServerBank¤O±ô¸ê°Tµ¹§A³Ì¶W­ÈÀu´fªºKeywin³Íí - KTS-A8H8Q-SR - ª½¥ß¦¡Server> ,³Ì¦nªºKeywin³Íí - ³ÍíKTS-A8H8Q-SR 5U ª½¥ß¦¡ ¦øªA¾¹±ÄÁÊ¿ï¾Ü´N¦b ServerBank!
¶W¦h´Úª½¥ß¦¡Server>AMD¨t¦C Åwªï±z¨Ó¹q°Q½×±ÄÁʻݨD¡A²{¦b§ó¦³¦h­«Àu´f¤è®×³á
¥»¯¸°Ó«~§¡¸û¦P·~»PºôÁÊ«K©y,¥ø·~ªø´Á±ÄÁÊ ¶q¤j¥t¦³§é¦©³á!  

 

°Ñ¦Ò°â»ù¡G( ¯}Ãa¦æ±¡¼t°Ó¬IÀ£¡I)
¸ß°Ý¥ô¦óKeywin³Íí¬ÛÃö²£«~, ½Ð¥ß§Y¨Ó¹q(02)8969-0901
¤O±ô¸ê°T ServerBank ¸ß»ùEmail: service@serverbank.com.tw



·|­û»ù>>¯Á¨ú¦¹°Ó«~³ø»ù


ÂsÄý³W®æ¬Ûªñ¤§Keywin³Íí²£«~>>
ÂsÄý³W®æ¬Ûªñ¤§¨ä¥L«~µP²£«~>>
¦Û°Ê¦C¦L³ø»ù³æ(½Ð¨Ó¹q¸ß°Ý§é¦©­°´T)






ServerBankÂX¤j©Û¶Ò·~°È¦P¤¯¡I
¥[ÁÊ ¼Ð·Ç°t³Æ¥H¥~¤§Keywin³Íí­ì¼t°t¥ó


¡@

¡@

¡@


Keywin³Íí
³ÍíKTS-A8H8Q-SR 5U ª½¥ß¦¡ ¦øªA¾¹ - ServerBank¸ê°T±ÄÁʺô
KTS-A8H8Q-SR
ª½¥ß¦¡Server>AMD¨t¦C


¡@
²£«~³W®æ
«¬¸¹ KTS-A8H8Q-SR
¥D¾÷ªO ¡ESuper H8QME-2
¤¤¥¡³B²z¾¹ ¡EQuad 1207-pin Socket F
¡ESupports up to four Quad-Core / Dual-Core AMD Opteron™ 8000 Series (Socket F) processor(s)
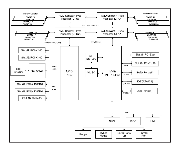
¡@Block Diagran
´¹¤ù²Õ ¡E nVidia MCP55 Pro
¡E AMD 8132
«eºÝ¶×¬y±Æ ¡E 1000 MHz system bus
°O¾ÐÅé ¡E(16) 240-pin DIMM sockets
¡ESupports up to 128 GB DDR2 667/533/400 MHz memory
¡ESingle or Dual (recommended) channel memory support
¡EFor Quad CPUs: Recommended that memory be populated equally in adjacent memory banks
ÂX¥R¼Ñ ¡EPCI-Express
¡@-1 x16 PCI-e Slot
¡@-1 x8 PCI-e Slot
¡EPCI-X
¡@-2 64-bit 133/100MHz PCI-X (3.3V) slots
¡@-2 64-bit 100MHz PCI-X (3.3V) slot
¡EHyperTransport
¡@-2 HyperTransport (HTX) Connectors
I/O ¤¶­± ¡ESATA
¡@-6 SATA2 ports
¡EIDE
¡@-Single EIDE channel support up to two UDMA IDE devices
¡@-Supports UDMA Mode 5
¡@-Supports PIO Mode 4
¡@-Supports ATA 100/133
¡EFloppy
¡@-1 Floppy port; 1.44 MB support
¡ELAN
¡@-2 RJ45 LAN ports
¡EUSB
¡@-FUCI
¡@-Up to 4 USB Ports 2.0 Compliant
¡@-2 Rear Ports
¡@-2 Internal Headers
¡EKeyboard / Mouse
¡@-PS/2 keyboard and mouse ports
¡ESerial Ports
¡@-1 Fast UART 16550 serial port
¡@-1 Header
¡EParallel Port
¡@-1 ECP / EPP parallel port
¡EVGA
¡@-1 VGA port
³nºÐ¾÷ ¡E ¥i·f°t³n¦¡µwºÐ<¿ï°t>
¥úºÐ¾÷ ¡E ¼Ð·Ç«¬DVD-ROM
µwºÐ±±¨î¤¶­± ¡ESATA
¡@-nVidia MCP55 Pro SATA2 3.0Gbps Controller
¡@-6 SATA2 Ports
ºÏºÐ°}¦C¤¶­± ¡ESATA
¡@-nVidia RAID 2.0
¡@-SATA RAID 0, 1, 0+1, 5 JBOD Support
Åã¥Ü¤¶­± ¡EATI ES1000 Graphics Controller16MB Graphics & VGA port
ºô¸ô¤¶­± ¡EIntel® 82546GB Dual Port Gigabit Ethernet Controller
¡ESupports 10BASE-T, 100BASE-TX, and 1000BASE-T, RJ45 output
­µ®Ä¤¶­± ¡E NA
¹q·½¨ÑÀ³¾¹ ¡E380W (3 + 1) Redundant PSU
´²¼ö­·®°¨t²Î ¡E(4) 120mm x 120mm
¡E(2) 80mm x 80mm
¾÷½c ¡E4U ¾÷¬[ / ª½¥ß¦¡¾÷½c
¤Ø¤o³W®æ ¡E660 x 220 x 432 (mm)
¾Þ§@Àô¹Ò ¡E Operating temperature 5¢XC ~ 35¢XC
¡E Non-operating temperature -40¢XC ~ 70¢XC
µwÅéºÊ±± ¡E ¨ã§Ú¦Û§Ú¶EÂ_¿O¸¹Åã¥\¯à, ¥i«ü¥ÜµwÅ餧¬¡°Êª¬ºA
¨t²ÎºÞ²z³nÅé ¡@
§@·~¨t²Î ¡@
«O©T¤Î°â«áªA°È ¡E ¦³­­«O©T¤@¦~

¡D¥»¤å¥óªº¸ê°T­Y¦³­×§ï¡A®¤¤£¥t¦æ³qª¾¡C
¡D³W®æ©Î³ø»ù­Y¦³»~¡A¥H­ì¼t«¬¿ý©Î¥¿¦¡³ø»ù³æ¬°¥D¡C
¡D¥»ºô¯¸¤º®e©Î¤å¥ó·í¤¤©Ò´£¤Î¤§«~µP¤Î²£«~¦WºÙ©Î¹Ï¤ù§¡¬°¨ä­ì©ÒÄݤ½¥q¤§ª©Åv¡B°Ó¼Ð©Îµù¥U°Ó¼Ð¡C

º¡¤@©w¼Æ¶q©Îª÷ÃBÁÙ¦³¦h´ÚÃØ«~¥i¨Ñ¿ï¾Ü³á! ServerBank ¤O±ô¸ê°Tµ¹§A³Ì¶W­ÈÀu´fªºKeywin³Íí - KTS-A8H8Q-SR - ª½¥ß¦¡Server> ,³Ì¦nªºKeywin³Íí - ³ÍíKTS-A8H8Q-SR 5U ª½¥ß¦¡ ¦øªA¾¹±ÄÁÊ¿ï¾Ü´N¦b ServerBank!


¥æ©ö¤Î¹B°e«O©T»¡©ú
¥æ©ö¤è¦¡¡G
±z¤£½T©w¥H¤W°Ó«~¬O§_²Å¦X±zªº»Ý¨D?¨SÃö«Y¡A§Ú­Ì·|¬°±z¦V­ì¼t½T»{¡C©Î¬O±z§Æ±æ¼W´î¥H¤W°Ó«~¤§³W®æ¹s²Õ¥ó¡A§Ú­Ì³£¥i¼u©Ê°t¦X±zªº»Ý­n³ø»ù¤Î¥X³f¡C ¦p±z¹ï¥H¤W²£«~³W®æ¥H¤Î»ù®æº¡·N¡A¥i³z¹L¥H¤U¤è¦¡¶i¦æ±ÄÁÊ¡G

1.¹q¸ÜÁpô¡G ½Ðª½±µ¨Ó¹q¡G(02)8969-0901
2.ºô¸ô¸ß»ù¡GÂI¿ï¥»­¶ÁʶR¸ß»ù§Ú­Ì·|¥ß§Y»P±zÁpô!
3.¨Ó¨ç¸ß»ùEmail: service@serverbank.com.tw
¥I´Ú¤è¦¡¡G¦p«È¤á¬°­º¦¸¥æ©ö±Ä²{ª÷¥æ©ö¡C
¶Ç¯u­q³æ¡G ª½±µ±N¥¿¦¡³ø»ù³æÃ±¦W«á¶Ç¯u¦Ü(02)2253-9016 §Y§¹¦¨­qÁʵ{§Ç¡A§Ú­Ì·|©ó³Ìµu®É¶¡¤º¹q¸Ü½T»{­q³æ¡C
±H°e®É¶¡¡G¨Ì³y¤£¦P¼tµP¥N²z°Ó¦³©Ò¤£¦P¡A¤j¦h¼Æ°Ó«~©ó 7 ­Ó¤u§@¤Ñ¯à°e©è«È¤áºÝ¡A§Ú­Ì¦¬¨ì±z­q³æ®É·|¦P®É¦^Âбz½T©w¥æ´Á¡C
°e³f¤è¦¡¡G(1) ­ì¼t©Î¬O¥N²z°Óª½±µ°t°e (2) ¥ÑServerBank©e°U¦v°t©Î¬O³f¹B¤½¥q°e¹F¡C
°e³f½d³ò¡G­­¥xÆW¥»®q¦a°Ï¡A¹B¶O¥Ñ ServerBank ¬°±z­t¾á¡Aª`·N¡I¦¬¥ó¦a§}½Ð¤Å¬°¶l¬F«H½c¡C
°â«áªA°È¡G­Y²£«~¥»¨­·å²«©Î¹B°e¹Lµ{¾É­P·s«~·å²«¡A¨ì³f7¤é¤º¥i§ó´«·s«~¡C
«O©T¬Fµ¦¡G ¹ê»Ú¥H­ì¼t¤Î¥N²z°Ó¤½§i«O©T±ø¥ó¬°¥D¡A¬d¾\Áʪ«»¡©ú»P«O©TªA°È¡C

¤O±ô¸ê°T ServerBank Inc. ²¤¶

¥Ø«e¤w¸g¬°¶W¹L30000®a¥ø·~´£¨ÑIT¸ê°T¬[ºc©Ò»Ýªº³nµwÅé³]³Æ¡A¦U¦æ·~ª¾¦W«È¤á¦p¡G

»s³y·~¡G¥x¿n¹q¡B¤Í¹F¡BÂE®üºë±K¡B¤O´¹¥b¾ÉÅé¡B¦w±¶­Û¡B¥xÆWªFªÛ¡B¥xÆW­^­¸­â¡B¥¿´Q¡B§¡»¨¡B§»¥¿¡B©MºÓÁp¦X¡BªF¶©¡B«Ø¿³¹q¤l¡B­¸§Q®ú©úùÖ¡B®õª÷Ä_¡B¯«³q¡B¯«¹F¡B°¶³Ð¤O¡B±d¥þ¡B°ê²³¡B±á¬P¥b¾ÉÅé¡B¼s¹F¹q¸£¡B¼s¿o¹q³q¡BÁpµØ®ðÅé¡BÄ_¦¨¤u·~¡B¼s¹B¡B

¥~°Ó¡G ¥xÆWNTT¡B¥xÆW·Nªk¥b¾ÉÅé¡B¥xÆWNEW Balance¡B¥xÆWNEC¡B¥xÆWSONY¡B¥xÆW´I¤h¥þ¸S¡B

ª÷¿Ä¡G°ê®õ¤H¹Ø¡B¤¸¤jÃÒ¨é¡B«n¤s¤H¹Ø¡B°ê®õ¥@µØ¡B¥xÆW¤u·~»È¦æ¡B¥xÆWª÷¿Ä¬ã°V°|¡B¤T°Ó¬ü¨¹¤H¹Ø¡B¤j¸Û«OÀI¡Bªk°ê¤Ú¾¤¤H¹Ø¡B«O¸Û¤H¹Ø¡B°êµØ¤H¹Ø¡B²Î¤@ÃÒ¨é¡B´I¨¹¤H¹Ø¡BµØ«n²£ª««OÀI¡B·s¥ú¤H¹Ø¡B¥xÆW²£·~«OÀI¡B

¬y³q¡G ·s¥ú¤T¶V¡B¤T¹´(·L­·¼s³õ)¡B«H¸q©Ð«Î¡Bªü¨½¤Ú¤Ú¡B

Æ[¥ú¡G ¤¤«H¶º©±¡B¶³®Ô¶º©±¡B¤Ó¥­¬v¡BµØ®õ¡B¤»ºÖ¡B¤Ñ²»´¹µØ¡B¬K¤Ñ°s©±¡B»·¶¯®ü¬v¤½¶é¡B

­¹«~¡G ¥xÆWµÒ°s¡B¤Ñ¤¯¯ù¸­¡B¤¸¯ª¡B¥ú¬u¡B·sªF¶§¡B¦w¤ß­¹«~(¼¯´µº~³ù)¡B®õ¤s¡B®üÅQ¤ý¡B²Î¤@¥ø·~¡B¾ó¤ì±í¡B¯ø´µ¸ª¡B«¢¸ò¹F´µ¦B²N²O¡B

´CÅé¡G ³ü¶Ç´C¡BÁp¦X³ø¡B¥xµø¡BµØµø¡B«D¤Z¹qµø¡B¨È¬w¼s¼½¡B­¸ºÐ¼s¼½¡B­·¼é°Û¤ù¡B®É³ø©P¥Z¡B

±Ð¨|¡G ¥xÆW¤j¾Ç¡B¥æ³q¤j¾Ç¡B²MµØ¤j¾Ç¡B¤j¦P¤j¾Ç¡B¤¤¥¡¤j¾Ç¡B¤¤­ì¤j¾Ç¡B¤¤¿³¤j¾Ç¡B»²¤j¡B°ê»y¹ê¤p¡BÂù¶é°ê¤p¡BµØ¿³¤¤¾Ç¡BªFªù°ê¤p¡B¥x¬ì¤j¡B©ú§Ó¡BªF§d¡BªF®ü¹qºâ¤¤¤ß¡Bªø©°¤j¾Ç¡B«n¨È§Þ³N¾Ç°|¡B¨ÈªF¡B«nªù°ê¤¤¡B¥x®v¤j¡BªFµØ¡B¶§©ú¡B¶³¬ì¤j¡B¦Ë®v¡Bº[«n¤j¾Ç¡B±X¤s¬ì¤j¡B²H¦¿¡B²M¶³¡B³{¥Ò¡B

²Õ´¡G «H«O°òª÷¡B«C³Ð·|¡B¤¤¤p¥ø·~¨ó·|¡BºÞ²z¬ì¾Ç¾Ç·|¡B­ì¦í¥Á±Ú¤å¤Æ±Ð¨|¨ó·|¡B¸êµ¦·|¡B¥xºô¤¤¤ß¡B¶³ªù»R¶°

¬F©²¡G ¤¤¬ã°|¡B¤¤¬ì°|¡B°·«O§½¡B¤Ñ¤å¬ì±ÐÀ]¡B¦Á¤îĵ§½¡BªO¾ô¹A·|¡B¥x¥_¿¤®ø¨¾§½¡B°ê½Ã°|¡B®ü¥ÍÀ]¡B°ê¦w§½¡B

ÂåÀø¡G ¥x¤jÂå°|¡B®¦¥D¤½Âå°|¡B¥_¨Ê¦P¤¯°ó¡B®H¨½°ò·þ±ÐÂå°|¡B¸¯Äõ¯À¥v§J¡Bù¤ó¤jÃļt¡B¥Ã«HÃÄ«~¡B

¹q«H¡G ¤j²³¹q«H¡B¥xÆW©Tºô¡B»·¶Ç¹q«H¡B

¥æ³q¡G ¥x¥_±¶¹B¤½¥q¡BµØ¯è¡B¤­±]±¶¹B¡B¥xÆW´¼¼z¥d¡B

¤½¯q¡G³ßéw¨à¡B¥ì¨l¡B¶§¥ú°òª÷·|¡B»Z¤½­^¡B¿ßÀYÆN

©v±Ð¡G ¤¤¥xÁI¦x¡B°ò·þ±Ð¦æ¹D·|¡B°ò·þ±Ð®û«H·|¡B

­x¤è¡G ªÅ­x¥q¥O³¡¡B°ê¨¾Âå¾Ç°|¡B


¡@
¡@

ServerBank¥Ñ¤O±ô¸ê°TªÑ¥÷¦³­­¤½¥q«Ø¸m service@serverbank.com.tw
¹q¸Ü(02)8969-0901 ¶Ç¯u(02)2253-9016 ·s¥_¥«ªO¾ô°Ï¤å¤Æ¸ô¤@¬q268¸¹3¼Ó

¡@
¡@